關鍵字列表 - 【 無線充電 】系列
-
摩托羅拉「無線充電」技術亮相!三公尺內可幫四台手機充電
今年(2021)一月的 CES 國際消費電子展,摩托羅拉(Motorola)曾在會展上推出了一個全新的無線充電技術,與傳統 Qi 無線充電不同,新的充電技術允許用戶能夠在距離 1 公尺範圍內替手機等行動裝置充電...... -
三星全新折疊式無線充電座曝光!傳也支援 iPhone
三星(Samsung)家的無線充電器一直是許多手機用戶喜愛的周邊產品,而近期則傳出三星也將推出新款無線座充,外媒《GSM Arena》也於今天釋出疑似官方渲染圖...... -
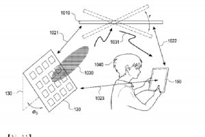
三星申請專利文件曝光!手機能真正「遠距離」無線充電
根據外媒《Phone Arena》的報導,世界知識產權組織(WIPO)近期核准了三星(Samsung)2016 年申請的一項無線充電專利,比起現有的無線充電,三星新的技術號稱能做到遠距離無線充電......
無更多資料

