(圖片來源/WIPO)
據外媒《Phone Arena》消息,世界知識產權組織(WIPO)近期核准了三星(Samsung)2016 年申請的一項專利。該專利將允許無線行動裝置,能以「遠距離隔空」的型式來充電並維持續航。
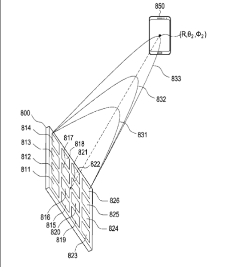
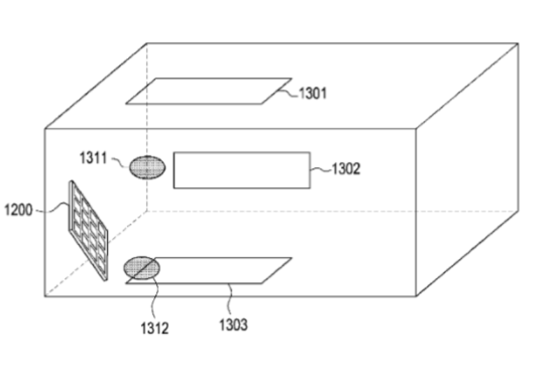
現有的無線充電技術基本上均符合 QI 標準,需要讓智慧型手機接觸到充電板,才會開始充電,不過三星的新技術則是採用發送充電訊號的方式。只要讓手機進到裝置的範圍內,就會開始自動充電,達到真正「完全無線」的充電效果。
專利內容指出,該技術是將能量集中在一個 OTA 發送裝置上,只要用戶在訊號範圍內走動,手機就會自動接收無線訊號並加電。此外,該專利亦表示發送器可以不受密閉空間內的障礙物影響,能始終保持訊號強度。
不過,目前三星的這項技術其實還停留在理論階段,但這項顯然十分實用的技術,仍有望在未來三 ~ 五年內實體化。
(圖片來源/WIPO)
(圖片來源/WIPO)
【你可能還想看】
蘋果原廠「無線充電板」售價曝光:夠買一台 2 手 iPad
熱門賽事、球星動態不漏接

