(圖/彭博)
蘋果iPhone 沿用近6年的「劉海」凹槽,未來不但會完全剪掉,而且還可能把前置自拍相機與Face ID臉部解鎖技術,藏在手機螢幕顯示器(機身內側)的背面,實現具備有「真全螢幕」的顯示面積佔比。雖然時間點可能不會是在今年,但果粉們確實可以期待一下未來的iPhone模樣。
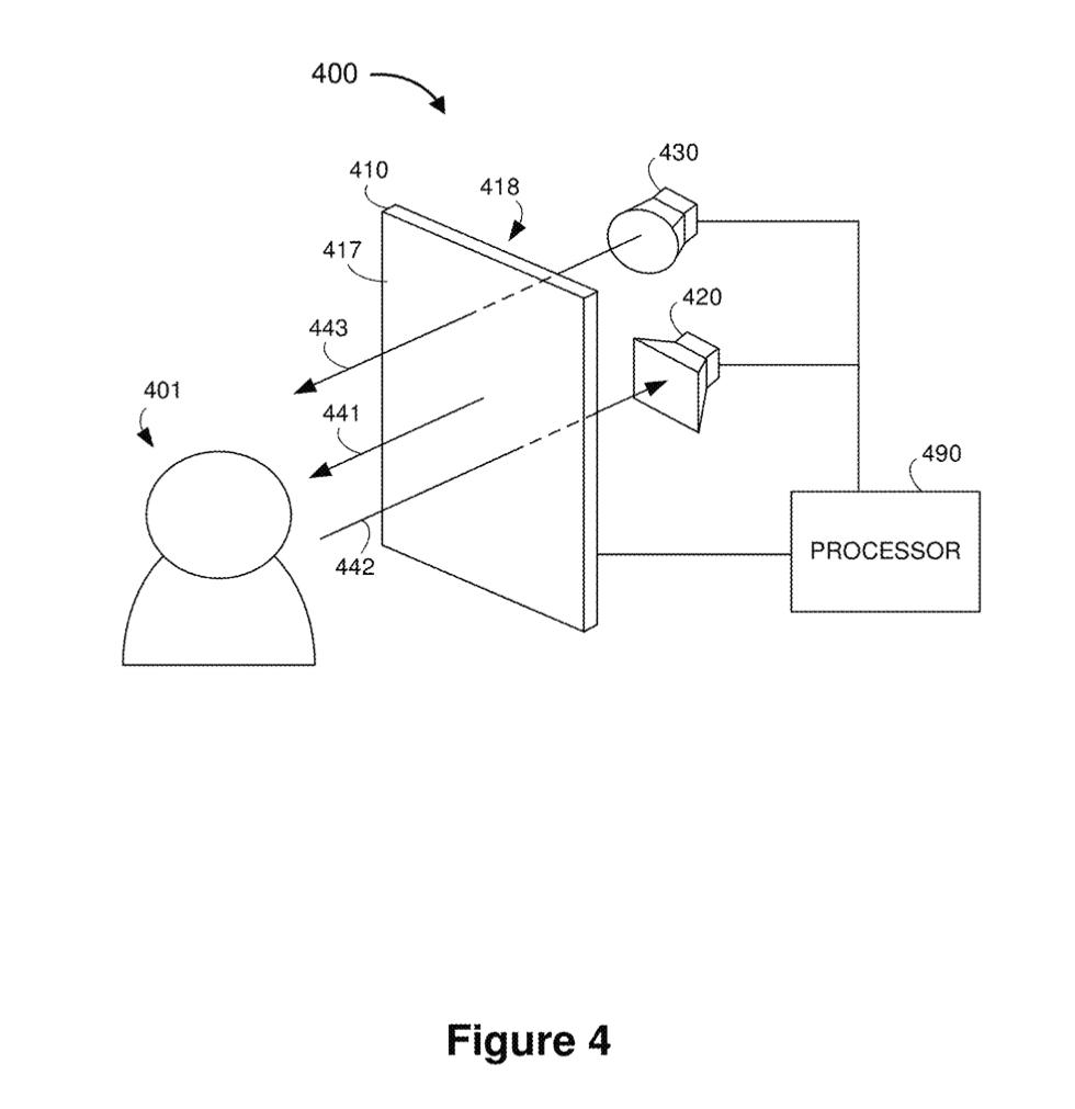
據外媒 TechNave 的報導,美國專利商標局已於上週批准蘋果在2年前提交的專利,該專利名稱為「Electronic device including a cmera disposed behind a display」,主要是描述可應用於行動電子裝置相機鏡頭設置於顯示器後方的相關技術,類似「螢幕下深度感測攝影鏡頭」技術的概念,將能讓相機鏡頭透過顯示器成功地捕捉前方的影像照片,且影像畫質不受顯示器影響。
蘋果取得設置在顯示器背後相機鏡頭的專利技術。(圖翻攝美國專利商標局)
從曝光的專利文件說明與示意圖,可以看到設置在顯示器後方的相機鏡頭經穿透顯示器所捕捉的自拍影像,傳送到處理器端的運作。
另,這項專利技術提交的時間為2019年9月24日。當時,蘋果才剛發表完iPhone 11 系列機款。由此可知,對於打造「全螢幕」、「無劉海」iPhone的設計概念,蘋果早就已做好準備。直到近期專利獲批准後,才讓外界看到蘋果深藏不露的黑科技。
雖然專利技術獲得批准認可,不見得馬上就會應用於蘋果旗下的產品上,但可以預期的是,距「無劉海」iPhone 真正問世的時間,至少又向前邁進一大步。
你可能也想看
iPhone 14 Pro 最新概念渲染圖曝光!劉海被「雙挖孔」設計取代
免費訂閱《自由體育》電子報熱門賽事、球星動態不漏接

