Apple 從未停止創新,申請的專利也是一個接一個;國外科技媒體 AppleInsider 報導,Apple 本周四又獲得一個全新專利,可以讓 iPhone 或其他裝置變成一種立體螢幕,使用者不需要配戴特殊的眼鏡就可以看到 3D 立體成像。
(法新社)
相信大家都對 3D 技術並不陌生,戴上特製的眼鏡後,原本平面影像瞬間變得立體又活潑,一場視覺饗宴就開始了!然而,3D 眼鏡眼鏡雖然輕巧,但難免還是有點累贅,對眼鏡族來說要在鼻子上掛上兩副眼鏡,實在是相當不舒服。
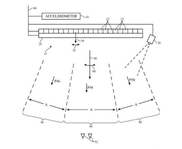
不過 Apple 最新的專利卻可以解決這個問題!AppleInsider 指出,Apple 最新通過的這項專利是一種像素陣列,裡面帶有次級子像素陣列以及透鏡結構,可以從很多不同的角度發出光線;其中最關鍵的零件則是「光線導向器」,可以讓用戶看到正確的光線,而且不需要特殊眼鏡就能看到 3D 立體成像。
(擷取自AppleInsider)
至於該技術如何判斷應該把光線導向什麼方向?AppleInsider 指出,搭配該技術的裝置可以利用相機鏡頭或加速感測器來判斷如何把光線導向正確的方向;預估這項專利未來可能應用在行動裝置上,例如 MacBook。
不過,裸視 3D 技術在大部分的消費性電子產品上都鎩羽而歸;過去 Amazon 曾在 Fire 手機上嘗試過,但卻沒有實現真正的立體效果;任天堂推出的 Nintendo 3DS 遊戲機也曾嘗試過裸視 3D,應該可以算是最成功的一款產品。
(法新社)
這項技術目前還只是專利,未來什麼時候會被應用在實際產品上,目前尚無法得知。但若真的實現在 Apple 產品上,對消費者來說可能將會是一大吸引力。
你可能會想看... 搶先看!iPhone 7 將有這超實用的 6 大新功能!
免費訂閱《自由體育》電子報熱門賽事、球星動態不漏接

