(圖片來源/Apple)
據國外長期追蹤 Apple 專利的科技媒體《Patently Apple》報導,指出 Apple 正在申請一種全新的 MacBook 筆電鍵盤,不僅能當作軌跡觸控板使用,同時還能自由拆卸。
(圖片來源/Patently Apple)
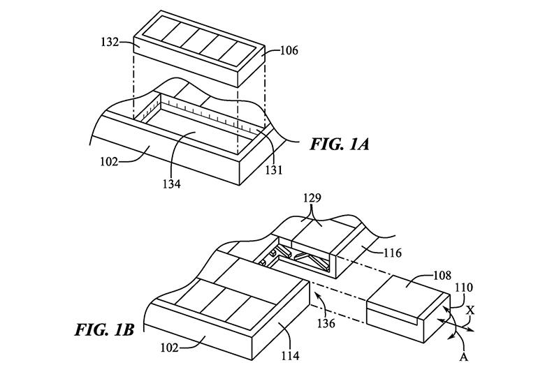
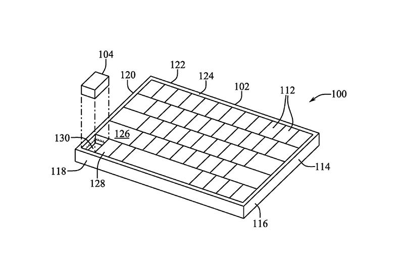
報導指出,Apple 向美國專利局(USPTO)新申請的專利名為「Deployable Key Mouse(可拆卸的鍵盤滑鼠)」,設想了一款外觀極像標準 MacBook 內建的剪刀式鍵盤,但具備「可隱藏的滑動鍵」,將鍵帽當作位置定位感應元件。
Apple 在專利文件稱該設計將為裝置提供更舒適、輕便且精準的打字體驗,並另外解釋對設計、Coding 等專業應用,觸控板會比用滑鼠來得方便。
(圖片來源/Patently Apple)
Apple 稱「Deployable Key Mouse(可拆卸的鍵盤滑鼠)」將為筆電等需攜帶外出的產品提供另一種不同的使用體驗,並在專利文件中解釋了可拆卸式鍵帽的其他工業設計,例如能垂直或橫向滑出鍵盤,以及位於鍵盤邊緣的「可展開式」鍵帽等。
雖然申請專利並不代表 Apple 最終會在產品上使用這些技術,但確實意味著 Apple 正在積極的思考未來 MacBook 系列將能有那些創新的設計。
【你可能還想看】
怕搶走新 MacBook Pro 光彩?蘋果下一代 Mac mini 傳延期發表
熱門賽事、球星動態不漏接

