(圖片來源/TechnoBuffalo)
對於下一代手機的可能模樣,三星(Samsung)先前展示了摺疊手機的模樣。藉由將螢幕折疊的方式,可以讓手機更容易收納攜帶。不過報導指出,LG 準備提供多家科技大廠,讓包含 Apple、Google 在內的公司,未來都可以開發出螢幕可摺疊的手機產品!
根據《ET News》報導,LG 正在與 Google、Apple、微軟(Microsoft)等三家科技大廠簽處協議,未來將會提供這三間公司可摺疊的螢幕。該報導認為,這個簽屬協議最重要的目的,就是與三星(Samsung)在可摺疊式螢幕領域競爭。
(圖片來源/gizmodo)
消息指出,LG 已經開發出可摺疊式螢幕的原型,預計將能協助這三間科技大廠,開發出全新的手機產品。不過估計要等到 2018 年後才能問世,首款可摺疊裝置的推出時間會落在 2018 年底到 2019 年初。
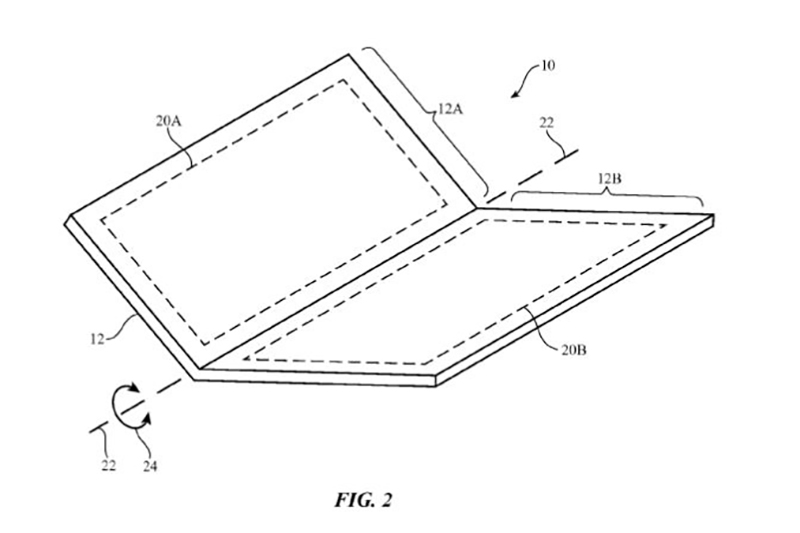
該報導提到,Apple 已經研發可摺疊手機將近一年的時間,同時 Apple 也擁有多項專利,但目前還沒有打算向市場推出,原因在於多項技術仍處於初期階段,現在推出帶來的創新力道還不太夠。
至於微軟部分,則是希望藉由可摺疊螢幕,開發出全新的產品,特別是擴大其 Surface 產品線。目前三大科技公司都沒有對該報導做出回應,短期內恐怕也不會看到可摺疊式手機的推出。
免費訂閱《自由體育》電子報熱門賽事、球星動態不漏接

