iPhone 7 將於今年秋天盛大登場,到底今年會有什麼樣的新特色雖然目前還無法得知,但卻可以從 Apple 獲得的專利得窺一二。美國專利商標局(US Patent and Trademark Office)日前批准了 Apple 一項最新專利,該技術主要是讓 iOS 裝置改用液態金屬材料,好讓正中央的 Home 鍵更有彈性。
圖為設計師 Martin Hajek 的 iPhone 6 概念圖。(圖片來源/Martin Hajek)
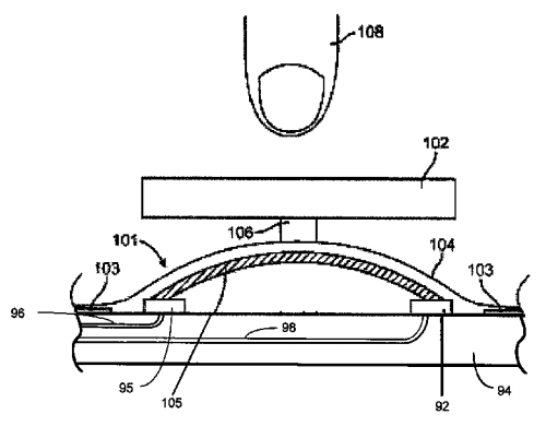
美國專利商標局日前批准了 Apple 約 40 項專利,其中一個就是在 Home 鍵上使用液態金屬;液態金屬具有高強度、耐腐蝕、輕身及柔韌性等特點,對於以按壓來控制的 Home 鍵來說將會是相當理想的材料。採用液態金屬可讓Home 鍵具有更高的延展性,當使用者按壓時,Home 鍵會稍微變形,將手指移開後,Home 鍵將回復原狀。

此外,液態金屬若用在 iPhone 內部零組件,將可以增加精確度、觸控時的回饋感,相比之下,採用鈦或不銹鋼等材質設計的 Home 鍵,長久使用後將產生不可逆的變形。
其實,Apple 將可能使用液態金屬作為 iPhone 的全新材質也不是第一次聽到了。細數 iPhone 使用過的材質,玻璃、金屬、塑膠都已嘗試過,到底 iPhone 7 會使用什麼新材質實在令人相當期待。今年 6 月份,美國證券交易委員會(SEC)公布的文件顯示,蘋果已經和特殊合金業者 Liquidmetal Technologies 更新協議內容,將第三度延長在消費性電子產品上使用「液態金屬」(liquid metal)的獨家授權。讓人不禁懷疑蘋果未來的 iPhone 是否將使用液態金屬當做材質。而去年 5 月份時,美國專利商標局(USPTO)也曾核准蘋果一項專利,就是在講如何將 iPhone 螢幕和液態金屬材質融合在一起。
美國專利商標局日前批准了 Apple 約 40 項專利,其中一個就是在 Home 鍵上使用液態金屬(UPSTO)
2014 年時,現任設計長 Jony Ive 就曾表示,蘋果正在努力尋找新材質應用在產品上的可能性,不過外界推測, Jony Ive 當時指的應該是加強版的 18K金、藍寶石和陶瓷。至於液態金屬是否有可能被應用在 iPhone 上?因液態金屬生產難度相當高,因此一般認為此一選項機率較低。
到底 iPhone 7 將會不會使用液態金屬呢?還是會在未來的 iPhone 上實現?就讓我們耐心地拭目以待吧!
免費訂閱《自由體育》電子報熱門賽事、球星動態不漏接

