國外用戶經常使用的社交平台 Twitter,最近有個野心勃勃的計畫,要讓用戶更樂於在這個平台上推文。最新的專利指出,Twitter 計畫透過用戶的推文方式,包含「按讚(Like)」、「轉推(Retweet)」等,來決定無人機的飛行方向,甚至是控制無人機以開啟空拍功能!
未來 Twitter 用戶,可望用推文操控無人機(圖/彭博)
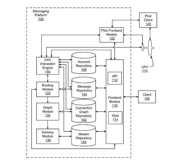
根據《TechCrunch》的報導,Twitter 最新的專利顯示了關於透過訊息平台,控制無人航空載具 UAV 的技術。專利中提到透過用戶在 Twitter 上的回覆、按讚、轉推等動作,可以轉換成對無人機的操控指令。透過訊息平台語無人機的連線,Twitter 用戶可以進一步操作無人機的多種功能。
Twitter 新專利,顯示可透過平台上的用戶行為,控制無人機行動(圖/Tech Crunch)
像是將無人機所拍攝的影像發布到動態上,或者是透過無人機在 Twitter 上開啟直播。此外還能控制的項目包含無人機的定位、相機拍攝方向、開啟照明等。該報導指出,這似乎意味著用戶可以透過推文,操控無人機拍攝自拍照。
包含 Amazon、Facebook、Google 等公司都已經在無人機領域有所突破,不過 Twitter 的這項嘗試倒是相當少見。Twitter 在回應國外媒體時,也提到未來無人機自拍(drone selfies),將會進一步演變成新名詞「Dronie」。
免費訂閱《自由體育》電子報熱門賽事、球星動態不漏接

