先前自由 3C 科技曾經報導,蘋果公司可能會在未來的 iPhone 新機上推出超音波排水設計,不過這個設計概念太過先進,要等到真正做出可用的手機恐怕還要好幾年的時間,但是蘋果公司的防水設計不只這一個,早在去年 6 月,蘋果公司就已經提出另外一款更實用的設計,而且可能就在最近的新款 iPhone 上面實現!
你可能還想看... iPhone 6s 的防水秘密在於這0.3mm?
先前國外網友曾經測試 iPhone 6s 真的有防水性!(圖片來源/擷取自 Zach Straley Youtube 影片畫面)
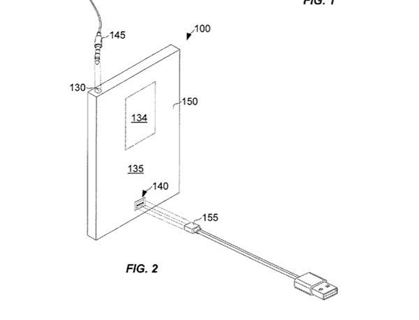
蘋果最新的專利設計將運用在手機耳機以及傳輸線連接埠上(圖片來源/擷取自 USPTO 網站)
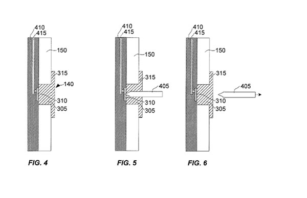
跟超音波排水這類太過「科幻」的設計相比,這個新揭露設計的可行性大大增加許多,由 USPTO 本週公開的專利來看,蘋果公司的新防水設計,是透過可自我修復的彈性塑料,設置在耳機、連接埠等機身開口處,當需要插上耳機或是傳輸線時,接頭可以穿透覆蓋在接頭上的塑料進行連接,當拔除連線時,彈性塑料將回復到原有狀態,持續以密閉型態保護機身開口處,達到防水防塵的目的。此外,包括耳機接頭跟傳輸線接頭等都在細節設計上增加了防水配套的設計,看來蘋果打算讓使用者即便泡水還可以聽音樂?
利用可彈性回覆的塑料,達成既可以防水又可以插線傳輸的設計(圖片來源/擷取自 USPTO 網站)
連耳機接頭都有重新設計(圖片來源/擷取自 USPTO 網站)
不過除了新設計之外,蘋果早在已經出廠的 iPhone 手機上運用了防水手機電路板的設計,並且在主要電路板周圍都佈設了防水墊圈,但這不並表示 iPhone 具有防水設計,或許等到蘋果真的認為 iPhone 的防水性沒問題了,才會真的在 iPhone 行銷字眼中加入「 Waterproof 防水」二字。
免費訂閱《自由體育》電子報熱門賽事、球星動態不漏接

