還記得 iPhone 6 Plus 剛推出的時候,Apple 曾被惡搞扳到彎曲嗎?現在 Apple 已經申請專利、準備向網友下戰帖,未來也許會看到一支從裡到外都能彎曲的 iPhone。
從頭到腳都可以彎的iPhone?(圖片來源:USPTO)
彎曲手機並不是新鮮事,Samsung 和 LG 都已經推出各自的曲面手機。LG 更在 2015 CES 消費電子展中,推出了能自動修復背蓋刮痕的曲面手機 G Flex 2。
還記得被網友惡搞的彎曲iPhone 6 Plus嗎?(圖片截自網路)
但據科技網站《AppleInsider》報導,Apple 剛獲得美國專利商標局認可的這項新專利,則是希望把整支手機都變得有彈性。
整支都能彎,而且不會壞喔!(圖片來源:USPTO)
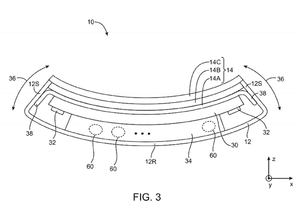
除了一定會採用彈性顯示器外,機殼、以及內部的所有零件,如電池、電路版等,全部都將使用彈性材質,但又不會破壞原本的功能運作。
從螢幕到零件,都要變得有彈性!(圖片來源:USPTO)
雖然技術上可以做到,但你一定會想,一支有彈性的手機到底能幹嘛?
實際上,全面使用彈性材質後的手機,最大的好處就是不怕摔。Apple 在專利文件中指出,使用彈性材質的手機,在遭受撞擊時,受到衝擊的時間會被延長,因此能讓撞擊力也被其它部分的零件一起分攤。
全面使用彈性材質後的手機,最大的好處就是不怕摔。(圖片來源:USPTO)
除此之外,這可能是開創觸控手機新玩法的契機,而不再只限於螢幕上滑動而已。
Apple 計劃將在手機中,安裝能偵測彈性的感應器,把不同彎曲的程度化作新的指令,只要你彎、折、擠、壓你的手機,就可以開關機、或打開APP。
箬再加上彈性感應器,可能可以開創手機的新玩法!(圖片來源:USPTO)
當然,彈性手機是不是真的有市場,現在還不確定,不過既然 Samsung 和 LG 都在研究彈性手機,Apple 也來參一腳也不奇怪。
免費訂閱《自由體育》電子報熱門賽事、球星動態不漏接

