根據 USPTO(美國專利商標辦公室)公開的文件表示,Apple 已經就新開發的多功能螢幕進行專利申請,這個螢幕整合了按鍵、硬體開關、喇叭、麥克風,以及具有可撓曲的彈性設計。
圖片來源:路透社
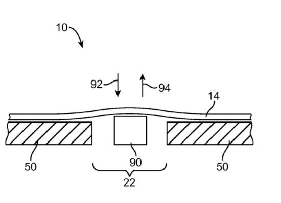
在文件圖片中可以看出,這種螢幕採用具有彈性的顯示面板,讓工程師可以在下方加裝可以提供回饋反應的硬體組件,如按鍵開關、可驅動凸起的元件等,可以依照畫面顯示的不同,將螢幕變成具有凹凸觸感的操作界面,讓使用者擁有更明確的操作感受。此外,工程師還可在背面加裝類似像鍵盤按鍵支架這類的被動凸起結構,在手機螢幕鍵盤輸入時,就可以達成如同實體鍵盤般的按壓手感。
可以看出 Apple 新型螢幕採用彈性多層架構,畫面擷取自 USPTO 官網
除了提供觸覺反饋的組件之外,該專利文件中也顯示了 Apple 也提供了在這螢幕下方安裝揚聲器與麥克風的選項,透過大面積薄膜的震動來輸出聲音。
在顯示面板下具有可反饋的硬體按鍵設計,畫面擷取自 USPTO 官網
隨著行動裝置的功能日趨複雜,如何節省裝置內部的空間以塞進更多功能,一直都是硬體工程師的一大挑戰,或許在 Apple 推出整合各種功能的螢幕後,工程師們能擁有更多的空間,來放置我們想都想不到的創意功能。
也可以凸起的方式,提供螢幕觸碰回饋,畫面擷取自 USPTO 官網
熱門賽事、球星動態不漏接

