之前已經有國外媒體傳出,Apple 將在 iPhone 6 的傳輸線上採用正反都能插的雙面 USB 接頭,這件事情在今天得到進一步的證實,在美國專利商標辦公室(USPTO)的網站上,揭露了 Apple 早在二月份就已提出的專利申請,採用中央固定塑膠片的設計,讓 USB 街頭不管正插反插,都不會造成故障或損壞。
左方目前的 USB 接頭,右方則是 Apple 將推出的雙面 USB 接頭,畫面擷取自 slashgear 網站
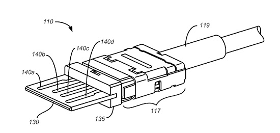
雙面 USB 街頭的詳細圖,圖片來源:USPTO
熱門賽事、球星動態不漏接

