可惡想捏?Apple 新專利將讓 Magic Mouse「更有感」!

2016/04/06 14:35 文/記者譚偉晟

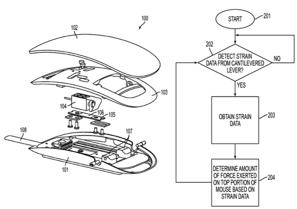
Apple 新專利顯示能在 Magic Mouse 採用 Force Touch 技術(圖/librestock)Apple 新專利顯示能在 Magic Mouse 採用 Force Touch 技術(圖/librestock)

在 Apple 出品了 Magic Mouse 這款沒有按鍵、可以透過觸控來操作的滑鼠後,由於與一般的滑鼠風格相異,成為 Apple 電腦裝置的一大特色配件。在去年針對產品做了一次小升級後,現在傳出下一代 Magic Mouse 將會迎來重大的全新功能,也就是導入 Force Touch 技術,讓滑鼠的操作方式更豐富!

根據《Cult of Mac》的報導,一份新的 Apple 專利暗示了 Apple 有意在 Magic Mouse 上採用 Force Touch 技術。Force Touch 技術最早使用在 Apple Watch 上,接著在 Magic Trackpad 2 上也採用了這項技術,而 iPhone 6s 更將這個技術強化,推出的 3D Touch 功能。

Apple 新專利最初是在 2013 年提出申請(圖/cultofmac)Apple 新專利最初是在 2013 年提出申請(圖/cultofmac)

而曝光的 Apple 專利,則顯示 Magic Mouse 將成為下一個採用 Force Touch 技術的 Apple 產品。在去年 10 月 Magic Mouse 迎來了一次小幅度的升級,將可替換的電池設計,改成可充電的內建電池,不過由於將充電孔設計在底部,因此無法充電邊使用。

由於  Magic Trackpad 2 與 Macbook 觸控版都已經可以使用 Force Touch 功能,因此在 OS X 系統內已有不少針對 Force Touch 設計的功能,像是 QuickTime 播放影片時,可以透過按壓的力道改變快轉的倍率。若是 Magic Mouse 真的應用了 Force Touch 技術,對於熟悉 Mac 系統操作的用戶,應該也能很快就上手。

你可能還想看... Apple 太誇張!Macbook 筆電能變身無線充電板?iPhone SE 成本算出來了!Apple 根本良心價?以 MagSafe 方式連接 Lightning 線?Apple 全新介面曝光!

【下一篇】
 Apple 想在印度推二手 iPhone?在地廠商:根本是賣垃圾!

免費訂閱《自由體育》電子報

熱門賽事、球星動態不漏接

不用抽 不用搶 現在用APP看新聞 保證天天中獎  點我下載APP  按我看活動辦法

熱門文章
    看更多!加入3C科技粉絲團
    網友回應