新曝光的專利顯示,三星似乎在積極探索四摺手機的可行性。(圖/翻攝網路)
市場盛傳,三星將在今年下半年推出首款三摺手機。最新曝光的專利顯示,三星的野心似乎不僅止於「三摺」,還在積極探索四摺手機的可行性。
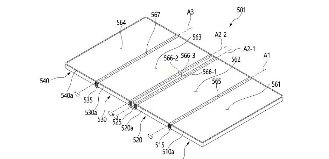
三星一項新專利描述了一款四摺手機,在設計上整合了三個鉸鏈,實現三個摺疊區域,這樣的結構可支援多種使用型態和應用場景,比現有的摺疊手機更加靈活多變。例如,手機可展開成更大的平板尺寸,或部分展開,達到類似蘋果iPad的4:3螢幕比例。理論上,還能在不同螢幕上同時執行多個應用程式,提升多工操作體驗。
三星探索四摺手機,展開變超大平板。(圖/翻攝網路)
三星也特別考量到耐用性問題,每個鉸鏈內部都強化內部結構,目的在減少摺疊與展開時的損耗,並盡可能降低螢幕摺痕的出現。然而,這類多重摺疊也存在明顯的挑戰,包含整體重量增加,以及摺疊後機身厚度偏高等問題。
目前為止,尚未有任何關於三星推出四摺手機的具體爆料。如同所有專利一樣,專利並不代表廠商最終一定會推出量產產品。不過,三星未來仍有可能將專利中探索的技術,部分應用到其他實際的摺疊手機中。
四摺手機的問題是機身厚度太厚。(圖/翻攝網路)
事實上,三星對於摺疊裝置領域向來「創意十足」。例如在今年3月的MWC開發者大會上,三星也展示了一款摺疊遊戲掌機。該機配備7.2吋螢幕,可對摺使用,方便玩家外出攜帶,現階段僅為概念原型機。
《你可能還想看》
摺疊iPhone恐讓iPad mini掰了!新爆料:蘋果小平板確定續命
免費訂閱《自由體育》電子報熱門賽事、球星動態不漏接

