(圖/翻攝自蘋果官網)
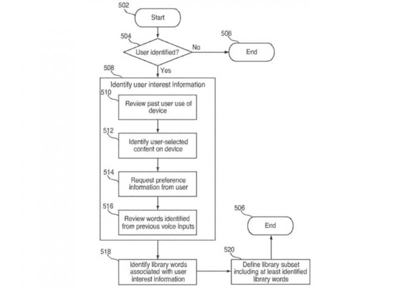
據外媒 AppleInsider 報導,蘋果近日取得一項新專利「User profiling for voice input processing」,該專利文件描述內容主要是與語音辨識系統的功能有關,不但可辨識出不同用戶的聲音,透過數據庫資料進行用戶比對,可針對多位不同用戶的偏好啟動各種特定指令服務;此外,還具有深度學習功能,可依據用戶的使用習慣持續學習調整,記憶不同使用者的偏好,提供個人化回應。
推估這項專利很可能率先運用於蘋果自家聲控 Siri 上,提供更多元化的應用服務。意味著,未來可讓多位用戶透過同一台智慧喇叭 HomePod 裝置,可進行下達指令、查詢特定資訊內容。
(圖翻攝自AppleInsider)
以使用智慧喇叭 HomePod 為例,當用戶A 呼叫 Siri時,下達行事曆查詢指令時,透過聲音辨識與數據庫資料比對,提醒該用戶的日程事項;當用戶B 呼叫Siri時下達查詢通話記錄時,則會連接到不同的數據庫,提供相關的個人化資訊。
(圖翻攝自The Verge)
你可能也想看
前 Google 班底接手!蘋果 Siri 原核心團隊全退場
免費訂閱《自由體育》電子報熱門賽事、球星動態不漏接

