(圖片來源/彭博社)
身為科技業龍頭的 Apple,不只在其 Apple Store 店面講究,連提袋也要做為一門學問研究。根據《Phone Arena》的報導,Apple 為了響應自身的環保概念而於今年 3 月 7 日特地申請專利,暗示將會製作新的產品「Apple Bag」。
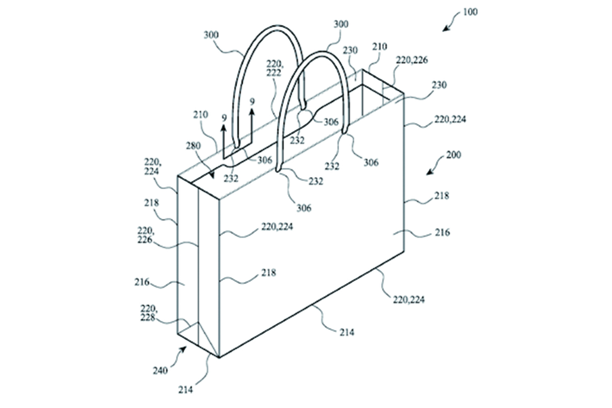
Apple 新的提袋專利圖。(圖片來源/phonearena)
Apple 表示這個提袋是「有著相當難度的開發與完成」。與普通紙袋不同,一般市面上常見到的紙做提袋約有 40%~50% 左右是來自回收素材,而 Apple 專用提袋則是高達 60%。「Apple Bag」經過特殊處理不容易被撕破,而 Apple 則特地在開口處加上套環以提供額外的強度,而手柄則是用紙纖維製作。
如果真的有這項產品的話...(圖片來源/Team Coco)
不過 Apple 對於產品精緻的龜毛程度難免要被調侃一番,美國著名脫口秀節目 CONAN 就以此特別製作一份特輯,調侃 Apple 將推出全新「AirBag」,以 AirPods(或許是 AirPods 產品被許多媒體、分析師不看好)為藍本嘲笑諸多搞笑的功能。雖然影片所虛擬的「AirBag」不是 Apple 真的會推出的產品,但新的購物提袋的專利確實存在,因此未來很快的就可以在 Apple Store 見到這個 Apple「高科技」紙袋。
免費訂閱《自由體育》電子報熱門賽事、球星動態不漏接

