去年秋天 Apple 發表了 12.9 吋大螢幕平板 iPad Pro,連帶也推出 Apple 第一款觸控筆 Apple Pencil。不過,Apple Pencil 並未引起消費者太多關注,可能是該產品的功能在目前還仍有限,而且大家也不是第一次見到觸控筆。不過,今天有最新消息指出,Apple Pencil 未來將可能有長足進步,而且還會變得更聰明!
(圖/Apple)
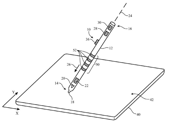
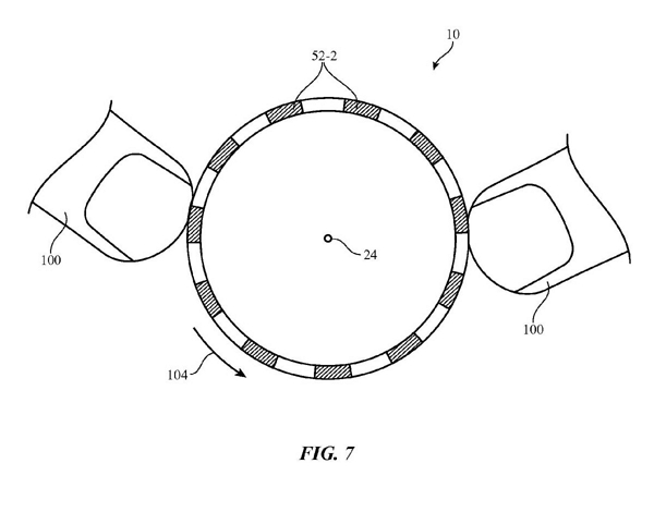
國外科技媒體 AppleInsider 報導,Apple 獲得的最新專利指出,最新的 Apple Pnecil 整支筆身都變成觸控式,可以偵測到用戶的握筆的動作、手指的姿勢以及握筆的力道。而藉由這些新的功能,Apple Pencil 將可以隨著用戶握觸控筆的方式自動進行調整。
未來的 Apple Pencil 將不再只有筆尖搭載感測器,而是整支筆桿都被感測器包覆(圖/USPTO)
Apple 最新專利文件顯示,未來的 Apple Pencil 將不再只有筆尖搭載感測器,而是整支筆桿都被感測器包覆,用戶只要在觸控筆上滑動手指,就可以將行動裝置上的視窗上拉或下拉;轉動觸控筆就能把行動裝置的螢幕變直或變橫,或是把螢幕上正在設計的物體模型轉向。另外,按壓部分感應器還可以直接切換成不同的繪圖模式。
用手指在 Apple Pencil 上轉動也可以帶出不同功能(圖/USPTO)
今年 5 月月初,Apple Insider 也曾報導過另一項有關 Apple Pencil 的專利;該專利文件顯示,新一代 Apple Pencil 內建有感應器、微處理器以及先進的演算法,可以精確分辨用戶的手部動作;還可以與行動裝置可在特定的情況下工作,筆中的感應器收集資料,來判斷筆尖是否已經與螢幕接觸,並可以測得用戶的力度大小以及傾斜的角度,來使畫出的線條變粗或變細。
另外,該專利文件也指出,這款觸控筆還可以更換筆頭、支援熱插拔以及其他的附加感應設備;而不同的筆頭還可以有不同的用途,例如刷子、鉛筆、毛氈尖筆等,觸控筆後端還將加入小型感應器,可以當作橡皮擦來用。若真的被應用在實際產品上,可以期待未來的 Apple Pencil 將為設計師提供更多元的選擇。
觸控筆 Apple Pencil 於去年推出(圖/Apple)
不過,Apple 向來對於更新產品都持保守態度,若沒有百分百的把握絕不輕易出手;Apple Pencil 才發表不到一年,要等到第二代推出恐怕還需要一點時間,大家就耐心等待吧!
免費訂閱《自由體育》電子報熱門賽事、球星動態不漏接

