蘋果的智慧型手機功能到底能做些什麼?上網、講電話、拍照、玩遊戲、上臉書,但是可能沒想到的是,可能在危急時刻,iPhone 還可能救你一命,因為根據美國專利商標辦公室(USPTO)所揭露的專利申請文件中,蘋果已經申請一項名為「FINGERPRINT ACTIVATION OF A PANIC MODE OF OPERATION FOR A MOBILE DEVICE 」的專利,可以透過辨識特定指紋的方式,啟動 iPhone 的特定功能(如撥打警方電話、拍照、錄音等等)。
你可能還想看... Touch ID 不僅指紋辨識!Apple 將給它更多功能!
Apple 將給 Touch ID 指紋辨識更多,將可用指紋開啟特定功能?(圖片來源/法新)
這項專利主要透過 Touch ID 指紋辨識這項功能來進行,使用者可以先在 iPhone 裡面的 Touch ID 設定好特定的指紋以及想要呼叫的功能,當覺得面臨危險的時候,使用者可以不用額外解鎖電話,只要用設定好的特定指紋對 Touch ID 按鈕按下去,在辨識指紋後 iPhone 就會開始自動執行設定好的動作(偷偷報警?),使用者可能根本就不用拿起手機,就可以觸發想要的緊急功能。
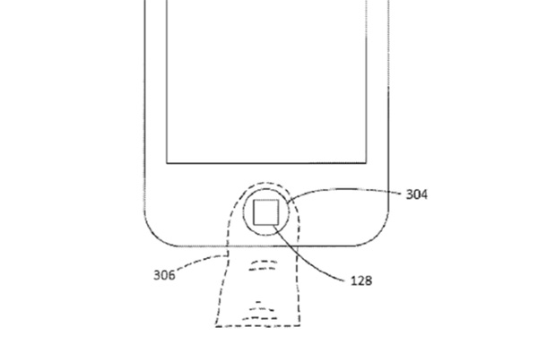
蘋果的新專利指出可用不同指紋辨識啟動不同功能(圖片來源/擷取自 USPTO 網站)
此外,這個專利不僅僅限於緊急功能的應用,而且還可以用在其他 APP 上頭,例如使用者可以設定,用右手食指解鎖是開啟相機拍照、用右手中指解鎖是開啟錄音、用左手小指開鎖是打開 Facebook APP 等等,不過這樣是否會讓 iPhone 操作變得更簡單`還是變得更麻煩難懂呢?
免費訂閱《自由體育》電子報熱門賽事、球星動態不漏接

