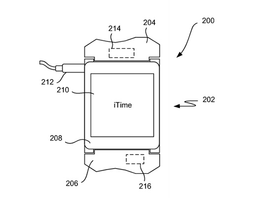
根據國外媒體報導,Apple 今天已經提出新款智慧穿戴裝置的專利申請,顯示最後的名稱可能命名為 iTime,而非大家之前所猜測的 iWatch。
根據 iPod Nano 的經驗,在蘋果專利文件上出現的名稱,搞不好就是真的產品名稱啊~~,圖片來源:USPTO
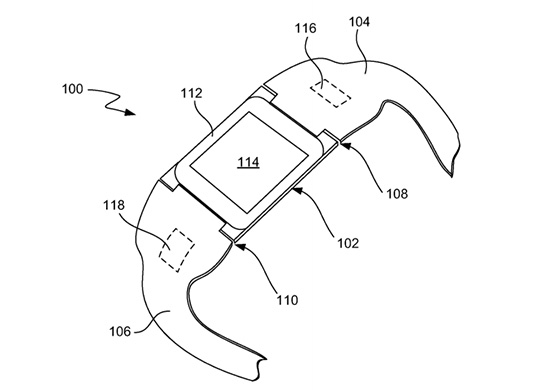
iTime 的專利圖解,跟之前的想像圖有不小的差距,圖片來源:USPTO
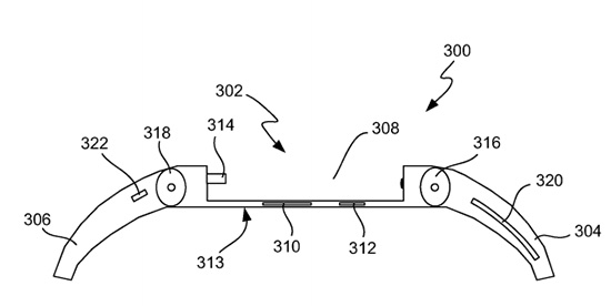
根據專利文件上顯示,這款新的穿戴裝置將會擁有一個具有圓弧外框的螢幕(據傳將是 2.5 吋的可彎曲 OLED 觸控螢幕)、可能可以更換的錶帶設計,在錶帶上面也具有感應器的配置。錶帶上面的感應器可能可以視功能加以更換(像是 GPS 模組、加速感應器、無線模組或是心跳感應等等),利用可更換錶帶的形式來擴充功能。
錶身跟錶帶可以分離,圖片來源:USPTO
圖片來源:USPTO
此外,Apple 也提到了該穿戴裝置可以與手機、平板、筆電等組成“個人無線環境”,這些裝置可以在這個環境中彼此進行溝通。例如智慧手錶可以觀看 iPhone 上面的訊息,也可以用來控制 iPhone 上面的音樂播放功能等。
個人區域網路的概念圖,圖片來源:USPTO
這張圖裡面錶帶的感應器跟先前的不同,看起來可以透過更換錶帶的方式來達成不同功能,圖片來源:USPTO
在這份專利文件裡也提到了手勢控制的功能,可以透過手臂、手腕、手指的動作,來進行特別功能的控制,這些動作包括搖動、振動、點選等物理運動等。
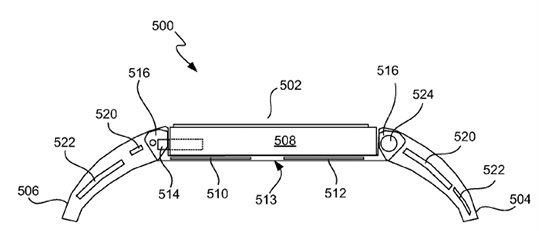
另外一型不同的錶帶,圖片來源:USPTO
這張圖的設計跟前面其他明顯不同,Apple 將不止推出一款 iTime 智慧手錶?圖片來源:USPTO
熱門賽事、球星動態不漏接

