(圖片來源/DetroitBORG)
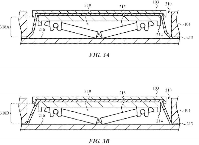
Apple 日前正式向美國專利局提交了一份報告,將為現有的 Magic Keyboard 無線鍵盤添加新的防污設計。據了解,該技術能有效地防止如麵包屑大小的雜物陷到鍵盤縫隙,並在用戶每次按下鍵盤時自動排出異物排出。
(圖片來源/The Verge)
外媒《The Verge》指出,Apple 新專利共有兩種方式來排除異物,第一種是利用在鍵盤按鍵底下設計一個「膜」的裝置,每當按鍵按下時,產生的空氣會將屑屑吹出;另一種則可能使用完全密封的方式來防止異物流入。
從 Apple 擬定專利的時間來看,這項技術早在一年多前 iPhone 7 / 7 Plus 發布後兩天提交(2016 年 9 月 8 日),雖然並未保證未來會推入市場,但如果真的實現,那將大幅強化 Magic Keyboard 的保護機制。
【你可能還想看】
想入手 iPad 再等等!傳下月發平價新款、支援 Apple Pencil
熱門賽事、球星動態不漏接

