Nokia 8 旗艦新機為 HMD Global 首款搭載蔡司認證三顆鏡頭的 Android智慧手機。(圖片來源/GadgetMatch)
擁 Nokia 手機品牌的HMD Global,傳出正秘密打造一款採用5顆鏡頭的拍照旗艦新機,在消息傳出後,引發各界關注與好奇,據了解,這款神秘新機的型號可能為 Nokia 10,對於這款搭載 5顆鏡頭的 Nokia 10,會具備怎樣的拍攝功能、手機外型設計又會長什麼樣子?各界都很期待,而近日,就有網友繪製 Nokia 10 的概念設計圖,並在Instagram 發佈,讓許多諾粉們搶先一睹可能的面貌。
Nokia 10 傳可能搭載5顆鏡頭。圖為概念設計圖。(圖片來源/Instagram @nokia_newphones)
從設計圖看來,手機的正面採用全螢幕、極窄邊框的設計,並且也沒有實體的 Home 鍵。最受矚目的就是機背搭載5組鏡頭的相機模組,採用一塊圓形,上面配置有兩顆LED 補光燈、五個鏡頭的排列組合也很特別,採用類似「十字」型的呈現方式,直排有三顆鏡頭、橫排有兩顆鏡頭。此外,機身背面還設置有指紋辨識器。
德國蔡司去年曾申請一項名為「小型變焦相機」裝置的專利,採用具輪轉切換功能的鏡片設計(圖片翻攝自 DPMA)
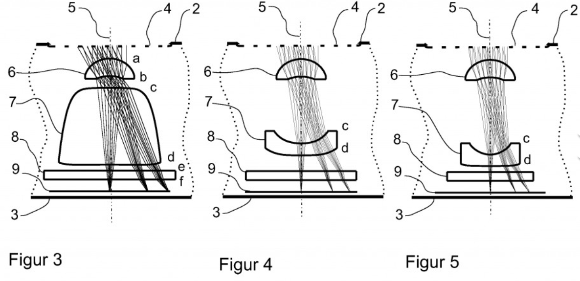
據瞭解,與Nokia 手機合作密切的德國蔡司,去年就曾被發現申請一項名為「小型變焦相機」裝置的專利,就是採用具輪轉切換功能的鏡片設計,該專利文件提到,把不同的定焦鏡頭放置在一個圓形的輪盤上,只要旋轉輪盤就可改變創造出不同的焦距,藉此提供更優異的影像畫質與拍照效果。
德國蔡司去年曾申請一項名為「小型變焦相機」裝置的專利,採用具輪轉切換功能的鏡片設計(圖片翻攝自 DPMA)
外界預期推測,蔡司鏡頭的這項專利技術,很可能被運用在Nokia 10的手機上,至於能發揮出怎樣厲害的拍照功能,目前為止還沒有更多具體的細節流出。
此外,由於Nokia 先前曾推出過搭載8顆鏡頭與麥克風的Nokia OZO,可拍攝360度VR影片,消息指出,相關影像技術也可望應用於Nokia 10的手機。
Nokia 10 傳可能搭載5顆鏡頭。圖為概念設計圖。(圖片翻攝自Techadvisor)
至於這款新機何時會發表?先前消息指出,目前已有測試機,若測試進展順利,則有可能投入量產計畫,推測時間點很有可能是在今年的下半年。目前上述傳聞資訊,尚未獲得HMD Global的證實。
你可能也想看
Nokia 8 擁蔡司鏡頭「光環落漆」? 相機評測排名輸給三星舊機
熱門賽事、球星動態不漏接

